


近日,南京江宁高新区企业瑞初医药自主研发的靶向衰老机制治疗眼部疾病的创新药物RC017,正式获得美国食品药品监督管理局(FDA)的新药临床试验(IND)批准。据悉,这是FDA首次批准中国抗衰老创新药进入临床,标志着我国在该领域的研究成果已具备全球竞争力。

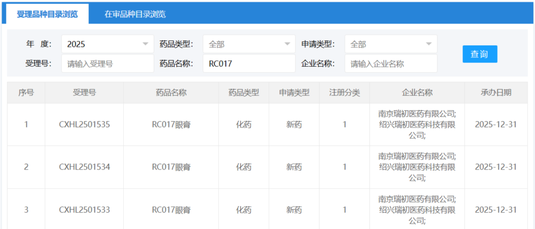
据介绍,RC017跳出传统眼部药物的治疗思路,以“衰老本身”为核心干预靶点。其作用机制在于多维度调控衰老细胞,临床前动物模型已展示出显著的疗效优势。此次获批,表明RC017项目已系统完成临床前各项关键验证,正式进入临床试验阶段,将为全球眼科患者提供全新的治疗机会。RC017是瑞初医药的首发管线,除此次在美国获批临床外,瑞初医药已于2025年底向中国国家药品监督管理局提交临床试验申请,有望在中美同步开展临床试验。

瑞初医药创立于2021年,作为国内首家聚焦衰老干预疗法的创新型新药研发企业,始终致力于开发靶向衰老机制的First-in-class(同类首创)药物,以独特的科学视角破解衰老及相关疾病领域未被满足的临床需求,旨在实现疾病的预防、治疗和逆转。
除RC017外,公司还布局了多个靶向衰老机制的创新在研管线。当前,随着核心管线进入临床阶段,瑞初医药正加速构建全球领先的衰老干预创新矩阵,推动抗衰老药物从概念验证迈入临床证实的新阶段。
来源:南京发布